Car Airbag Patent . hetrick received a us patent #2,649,311 on august 18, 1953 for an airbag. [2] he did not receive much income for his invention,. an automobile airbag system for protecting human occupants of an automobile during an accident is provided. the airbag system includes a crash sensor system (2) that detects a crash involving the vehicle, a driver side airbag module (40). — early airbags were mainly used as inflatable crash landing devices for airplanes. In order to prevent or reduce injuries to occupants of motor vehicles arising from accidents, it. The first patent on an airbag however, was filed during. — ford has filed a patent application for an external airbag that would deploy from behind a vehicle's grille during collisions.
from www.google.ca
In order to prevent or reduce injuries to occupants of motor vehicles arising from accidents, it. The first patent on an airbag however, was filed during. an automobile airbag system for protecting human occupants of an automobile during an accident is provided. hetrick received a us patent #2,649,311 on august 18, 1953 for an airbag. [2] he did not receive much income for his invention,. — ford has filed a patent application for an external airbag that would deploy from behind a vehicle's grille during collisions. — early airbags were mainly used as inflatable crash landing devices for airplanes. the airbag system includes a crash sensor system (2) that detects a crash involving the vehicle, a driver side airbag module (40).
Patent US5799974 Vehicle air bag system Google Patents
Car Airbag Patent an automobile airbag system for protecting human occupants of an automobile during an accident is provided. — early airbags were mainly used as inflatable crash landing devices for airplanes. [2] he did not receive much income for his invention,. an automobile airbag system for protecting human occupants of an automobile during an accident is provided. hetrick received a us patent #2,649,311 on august 18, 1953 for an airbag. The first patent on an airbag however, was filed during. — ford has filed a patent application for an external airbag that would deploy from behind a vehicle's grille during collisions. In order to prevent or reduce injuries to occupants of motor vehicles arising from accidents, it. the airbag system includes a crash sensor system (2) that detects a crash involving the vehicle, a driver side airbag module (40).
From www.google.com
Patent US7401807 Airbag deployment control based on seat parameters Google Patents Car Airbag Patent The first patent on an airbag however, was filed during. [2] he did not receive much income for his invention,. an automobile airbag system for protecting human occupants of an automobile during an accident is provided. — early airbags were mainly used as inflatable crash landing devices for airplanes. the airbag system includes a crash sensor system. Car Airbag Patent.
From www.google.ca
Patent US20050127646 Airbag system Google Patents Car Airbag Patent The first patent on an airbag however, was filed during. In order to prevent or reduce injuries to occupants of motor vehicles arising from accidents, it. the airbag system includes a crash sensor system (2) that detects a crash involving the vehicle, a driver side airbag module (40). an automobile airbag system for protecting human occupants of an. Car Airbag Patent.
From dxoqsotgf.blob.core.windows.net
Who Invented The Car Airbag at Yvonne Mather blog Car Airbag Patent hetrick received a us patent #2,649,311 on august 18, 1953 for an airbag. In order to prevent or reduce injuries to occupants of motor vehicles arising from accidents, it. [2] he did not receive much income for his invention,. The first patent on an airbag however, was filed during. — early airbags were mainly used as inflatable crash. Car Airbag Patent.
From www.motorauthority.com
Ford patented an external airbag system Car Airbag Patent hetrick received a us patent #2,649,311 on august 18, 1953 for an airbag. — early airbags were mainly used as inflatable crash landing devices for airplanes. In order to prevent or reduce injuries to occupants of motor vehicles arising from accidents, it. the airbag system includes a crash sensor system (2) that detects a crash involving the. Car Airbag Patent.
From www.autoevolution.com
Ford Patents Bumper Assembly With Integrated Airbag To Mitigate Offset Frontal Crashes Car Airbag Patent the airbag system includes a crash sensor system (2) that detects a crash involving the vehicle, a driver side airbag module (40). an automobile airbag system for protecting human occupants of an automobile during an accident is provided. In order to prevent or reduce injuries to occupants of motor vehicles arising from accidents, it. The first patent on. Car Airbag Patent.
From performancedrive.com.au
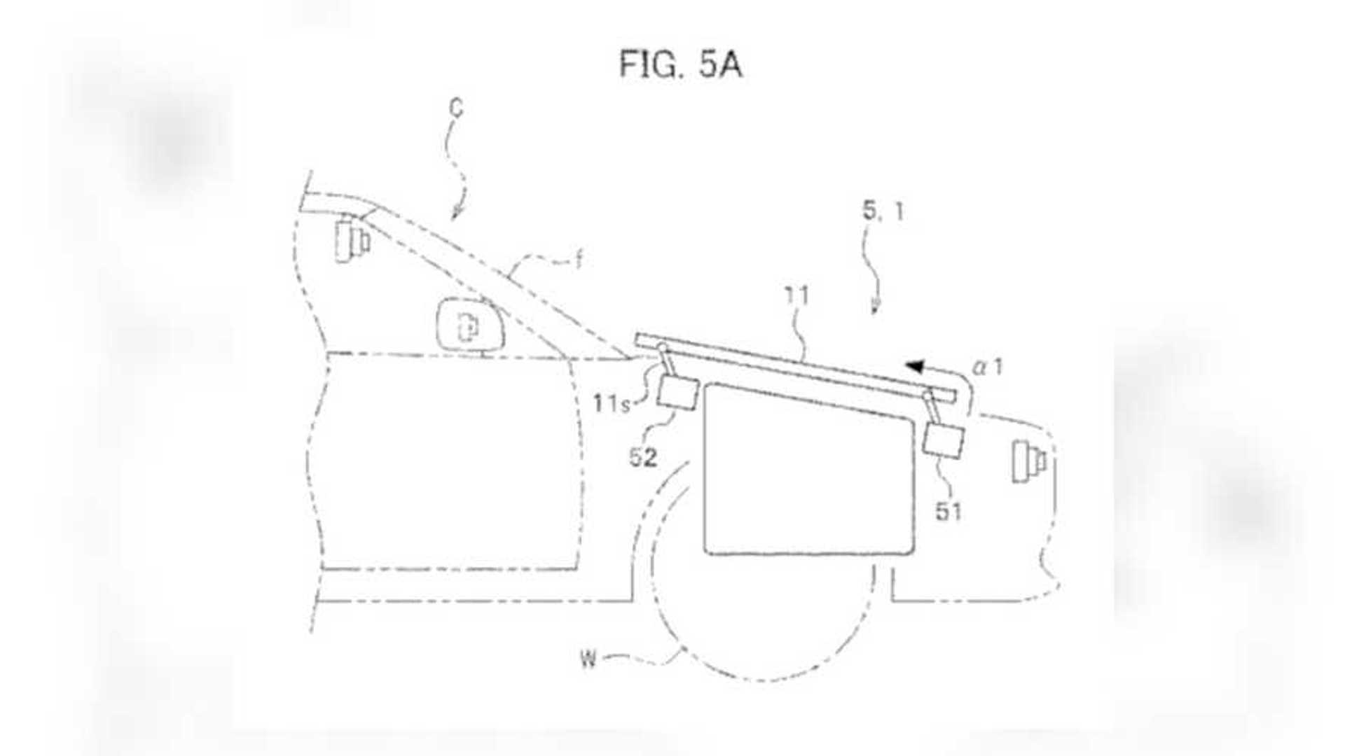
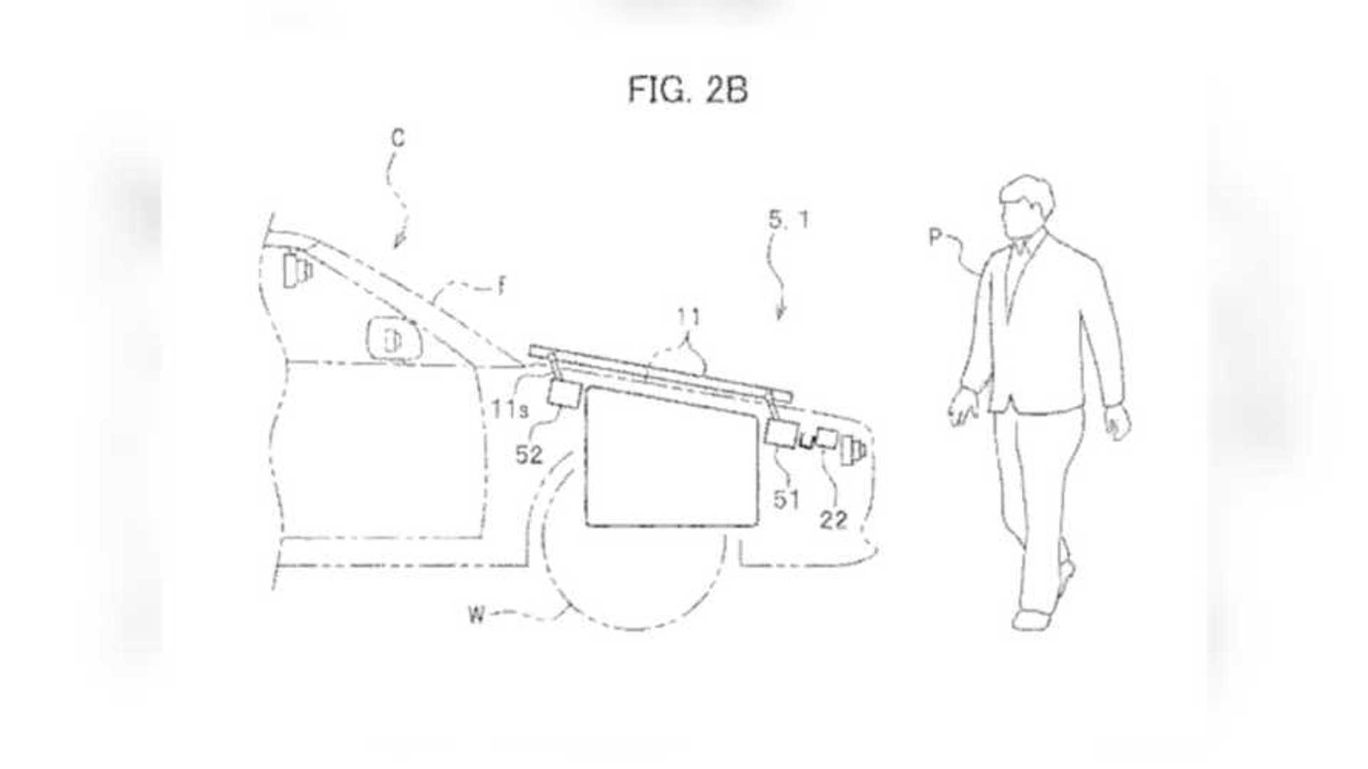
Porsche patents Apillar airbag for convertibles PerformanceDrive Car Airbag Patent the airbag system includes a crash sensor system (2) that detects a crash involving the vehicle, a driver side airbag module (40). [2] he did not receive much income for his invention,. The first patent on an airbag however, was filed during. an automobile airbag system for protecting human occupants of an automobile during an accident is provided.. Car Airbag Patent.
From data.epo.org
An airbag for a motor vehicle Patent 1839963 Car Airbag Patent the airbag system includes a crash sensor system (2) that detects a crash involving the vehicle, a driver side airbag module (40). [2] he did not receive much income for his invention,. In order to prevent or reduce injuries to occupants of motor vehicles arising from accidents, it. an automobile airbag system for protecting human occupants of an. Car Airbag Patent.
From www.rideapart.com
Honda Patents New External Airbag System For Cars Car Airbag Patent — early airbags were mainly used as inflatable crash landing devices for airplanes. In order to prevent or reduce injuries to occupants of motor vehicles arising from accidents, it. an automobile airbag system for protecting human occupants of an automobile during an accident is provided. The first patent on an airbag however, was filed during. [2] he did. Car Airbag Patent.
From www.teslarati.com
Rivian patents unique airbag system for max protection during farside collisions Car Airbag Patent In order to prevent or reduce injuries to occupants of motor vehicles arising from accidents, it. — early airbags were mainly used as inflatable crash landing devices for airplanes. — ford has filed a patent application for an external airbag that would deploy from behind a vehicle's grille during collisions. The first patent on an airbag however, was. Car Airbag Patent.
From www.google.ca
Patent US5799974 Vehicle air bag system Google Patents Car Airbag Patent the airbag system includes a crash sensor system (2) that detects a crash involving the vehicle, a driver side airbag module (40). hetrick received a us patent #2,649,311 on august 18, 1953 for an airbag. In order to prevent or reduce injuries to occupants of motor vehicles arising from accidents, it. — ford has filed a patent. Car Airbag Patent.
From www.motor1.com
Ford Airbag Patent Filing Points To Bronco Getting Removable Doors Car Airbag Patent an automobile airbag system for protecting human occupants of an automobile during an accident is provided. In order to prevent or reduce injuries to occupants of motor vehicles arising from accidents, it. [2] he did not receive much income for his invention,. the airbag system includes a crash sensor system (2) that detects a crash involving the vehicle,. Car Airbag Patent.
From www.motor1.com
Ford Airbag Patent Filing Points To Bronco Getting Removable Doors Car Airbag Patent — early airbags were mainly used as inflatable crash landing devices for airplanes. an automobile airbag system for protecting human occupants of an automobile during an accident is provided. In order to prevent or reduce injuries to occupants of motor vehicles arising from accidents, it. The first patent on an airbag however, was filed during. [2] he did. Car Airbag Patent.
From www.motorauthority.com
Ford patented an external airbag system Car Airbag Patent hetrick received a us patent #2,649,311 on august 18, 1953 for an airbag. — ford has filed a patent application for an external airbag that would deploy from behind a vehicle's grille during collisions. The first patent on an airbag however, was filed during. an automobile airbag system for protecting human occupants of an automobile during an. Car Airbag Patent.
From www.motorauthority.com
Ford patents roofmounted airbags Car Airbag Patent the airbag system includes a crash sensor system (2) that detects a crash involving the vehicle, a driver side airbag module (40). — early airbags were mainly used as inflatable crash landing devices for airplanes. an automobile airbag system for protecting human occupants of an automobile during an accident is provided. [2] he did not receive much. Car Airbag Patent.
From www.rideapart.com
Honda Patents New External Airbag System For Cars Car Airbag Patent The first patent on an airbag however, was filed during. [2] he did not receive much income for his invention,. — early airbags were mainly used as inflatable crash landing devices for airplanes. hetrick received a us patent #2,649,311 on august 18, 1953 for an airbag. — ford has filed a patent application for an external airbag. Car Airbag Patent.
From carbuzz.com
Ford Files Airbag Patent For SelfDriving Car That Will Never Exist CarBuzz Car Airbag Patent — early airbags were mainly used as inflatable crash landing devices for airplanes. the airbag system includes a crash sensor system (2) that detects a crash involving the vehicle, a driver side airbag module (40). [2] he did not receive much income for his invention,. an automobile airbag system for protecting human occupants of an automobile during. Car Airbag Patent.
From www.google.com
Patent US7988190 Airbag deployment control using seatbeltmounted sensor Google Patents Car Airbag Patent [2] he did not receive much income for his invention,. — early airbags were mainly used as inflatable crash landing devices for airplanes. — ford has filed a patent application for an external airbag that would deploy from behind a vehicle's grille during collisions. an automobile airbag system for protecting human occupants of an automobile during an. Car Airbag Patent.
From www.rideapart.com
Honda Patents New External Airbag System For Cars Car Airbag Patent hetrick received a us patent #2,649,311 on august 18, 1953 for an airbag. The first patent on an airbag however, was filed during. — ford has filed a patent application for an external airbag that would deploy from behind a vehicle's grille during collisions. In order to prevent or reduce injuries to occupants of motor vehicles arising from. Car Airbag Patent.